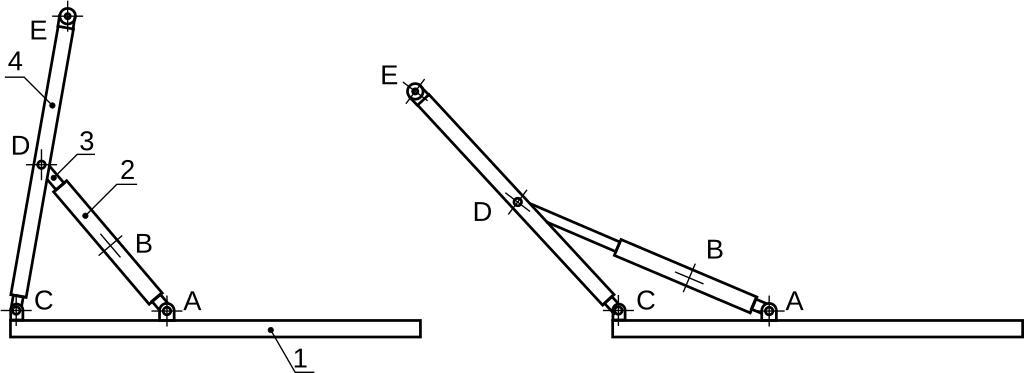
MAKE A MEME View Large Image Elevateur bande positions extremes.svg en Frame and mounting of a conveyor belt see File Chassis elevateur bande persp svg extreme positions fr Châssis et support d'un élévateur à bande voir File Chassis elevateur bande persp svg ...
View Original:Elevateur bande positions extremes.svg (375x136)
Download: Original    Medium    Small Thumb
Courtesy of:commons.wikimedia.org More Like This
Keywords: Elevateur bande positions extremes.svg en Frame and mounting of a conveyor belt see File Chassis elevateur bande persp svg extreme positions fr Châssis et support d'un élévateur à bande voir File Chassis elevateur bande persp svg positions extrêmes own Cdang 2010-04-27 elevateur bande trajectoires relatives svg inkscape Conveyor belts
Terms of Use   Search of the Day