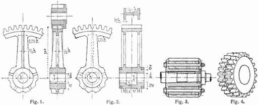
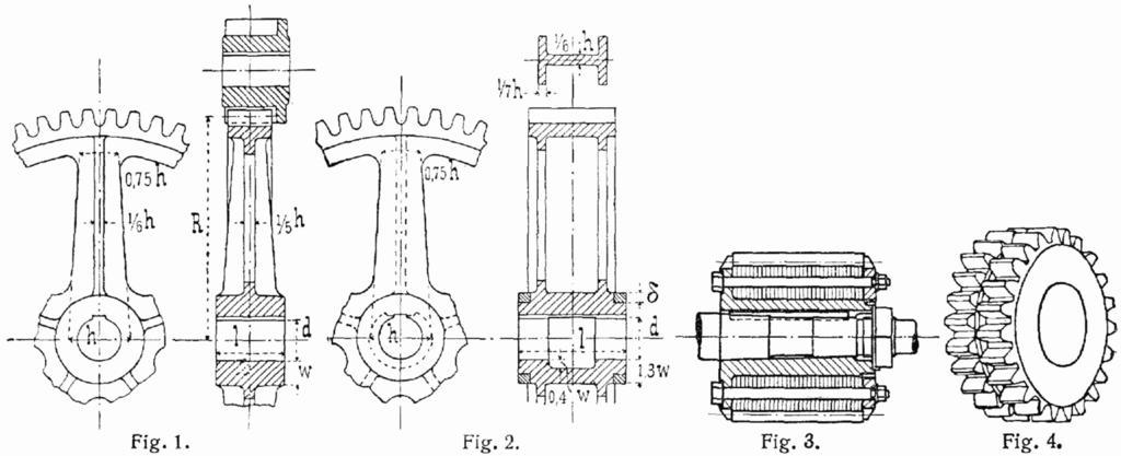
MAKE A MEME View Large Image L-Zahnrad1.png Lueger Lueger/Machine elements Drawings of gears and gearboxes
View Original:L-Zahnrad1.png (2048x834)
Download: Original    Medium    Small Thumb
Courtesy of:commons.wikimedia.org More Like This
Keywords: L-Zahnrad1.png Lueger Lueger/Machine elements Drawings of gears and gearboxes
Terms of Use   Search of the Day